BRUNSWICK COUNTY 11/5/2025 5:25:35 PM
KIDD ANTHONY J ETUX        KIDD DAWN Return/Appeal Notes:   Parcel: 219EF002
3221 SEA GRASS CT SOUTHPORT 28461 ST JAMES PLAT: 0071/0008 UNIQ ID 70372
80067354     ID NO: 206701459343
BRUNSWICK COUNTY (100), ST JAMES (100)      St. James HOA Exclusion CARD NO. 1 of 1  
Reval Year: 2019 Tax Year: 2022 L-11 PH-1 PL 71/8 .17AC SEASIDE 1.0000 LT   SRC=  
Appraised by 96 on 12/12/2019 307R STJ - SEASIDE TW-05 CI-29 FR-23 EX- AT- LAST ACTION 20191227
CONSTRUCTION DETAIL MARKET VALUE   DEPRECIATION CORRELATION OF VALUE
Foundation - 4
Con Ftg/Crawl 5.00
Sub Floor System - 2
Slab On Grade 5.00
Exterior Walls - 19
Hardy Plank 32.00
Roofing Structure - 03
Gable 7.00
Roofing Cover - 06
Arch Shingle 5.00
Interior Wall Construction - 5
Drywall/Sheetrock 21.00
Interior Floor Cover - 12
Hardwood 10.00
Interior Floor Cover - 14
Carpet 0.00
Heating Fuel - 04
Electric 1.00
Heating Type - 09
Heat Pump Only 4.00
Air Conditioning Type - 03
Central 4.00
Bedrooms/Bathrooms/Half-Bathrooms
4/3/0 16.000
Bedrooms
BAS - 3 FUS - 1 LL - 0 _
Bathrooms
BAS - 2 FUS - 1 LL - 0 _
Half-Bathrooms
BAS - 0 FUS - 0 LL - 0 _
Office
BAS - 0 FUS - 0 LL - 0 0
TOTAL POINT VALUE 110.000
BUILDING ADJUSTMENTS
Market/Design 05 1.00 1.0000
Quality 4 ABOVE AVERAGE 1.1000
Size Size Size 0.9500
Construction Factor 05 1.00 1.0000
TOTAL ADJUSTMENT FACTOR 1.050
TOTAL QUALITY INDEX 116
USE MOD Eff. Area QUAL BASE RATE RCN EYB AYB
   Standard  0.02000
CREDENCE TO MARKET
01 01 2,479 116 102.08 253057 2015 2012 % GOOD 98.0
DEPR. BUILDING VALUE - CARD 248,000
TYPE: SINGLE FAMILY RESIDENTIAL SFR CONSTRUCTION
STYLE: 2 - 1.5 Stories
 

Click on image to enlarge
DEPR. OB/XF VALUE - CARD 2,950
MARKET LAND VALUE - CARD 85,000
TOTAL MARKET VALUE - CARD 335,950
TOTAL APPRAISED VALUE - CARD 335,950
TOTAL APPRAISED VALUE - PARCEL 335,950
TOTAL PRESENT USE VALUE - PARCEL 0
TOTAL VALUE DEFERRED - PARCEL 0
TOTAL TAXABLE VALUE - PARCEL $ 335,950
PRIOR
BUILDING VALUE 234,420
OBXF VALUE 3,380
LAND VALUE 85,000
PRESENT USE VALUE 0
DEFERRED VALUE 0
TOTAL VALUE 322,800
PERMIT
CODE DATE NOTE NUMBER AMOUNT
ROUT: WTRSHD:
SALES DATA
OFF. RECORD DATE DEED TYPE Q/U V/I INDICATE SALES PRICE
BOOK PAGE MO YR
04001 0991 12 2017 GW Q I 295000
03364 1051 1 2013 WD* Q V 82000
03360 1290 1 2013 WD* Q V 78000
02301 0854 12 2005 WD U V 0
HEATED AREA 2,080
NOTES
CO 3/19/2013 FOG HAS WI CLOSET
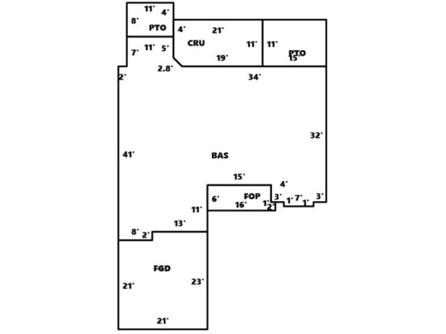
SUBAREA
TYPE GS AREA % RPL CS
BAS 1,757 100 179355
CRU 229 075 17558
FGD 467 050 23887
FOG* 323 085 28072
FOP 92 030 2858
PTO 253 005 1327
FIREPLACE 1 - None 0
SUBAREA TOTALS 3,121   253,057
CODE DESCRIPTION COUNT LTH WTH UNITS UNIT PRICE ORIG % COND BLDG# AYB EYB ANN DEP RATE OVR % COND OB/XF DEPR. VALUE
22 CONCRETE PAVING   36 12 432 3.50 0 1 2013 2013 S3   82 1240
22 CONCRETE PAVING   33 18 594 3.50 0 1 2013 2013 S3   82 1705
TOTAL OB/XF VALUE 2,945
BUILDING DIMENSIONS BAS=N41E2N7E11S5SE@45-2.83E34S32W3S1W7N1W3N4W15S11W13S2W8Area:1757;FGD=N21E8N2E13S23W21Area:467;FOP=E15S4E1S2W16N6Area:9 92;FOG=Area:323;PTO=E11S4S4W11N8Area:88;CRU=S4S5SE@45-2.83E19N11W21Area:229;PTO=E15S11W15N11Area:165;TotalArea:3121  
LAND INFORMATION
HIGHEST AND BEST USE USE CODE LOCAL ZONING FRON TAGE DEPTH DEPTH / SIZE LND MOD COND FACT OTHER ADJUSTMENTS AND NOTES
  RF   AC   LC  TO  OT
ROAD
TYPE
LAND UNIT PRICE TOTAL LAND UNITS UNT TYP TOTAL ADJST ADJUSTED UNIT PRICE LAND VALUE OVERRIDE VALUE LAND NOTES
SFR 0100 SBR6 0 0 1.0000 0 1.0000
  
PS 85,000.00 1.000 LT 1.000 85,000.00 85000 0  
TOTAL MARKET LAND DATA     85,000  
TOTAL PRESENT USE DATA