BRUNSWICK COUNTY 11/5/2025 5:17:11 PM
KIDD ANTHONY J ETUX        KIDD DAWN Return/Appeal Notes:   Parcel: 219EF002
3221 SEA GRASS CT SOUTHPORT 28461 ST JAMES PLAT: 0071/0008 UNIQ ID 70372
80067354     ID NO: 206701459343
BRUNSWICK COUNTY (100), ST JAMES (100)      St. James HOA Exclusion CARD NO. 1 of 1  
Reval Year: 2023 Tax Year: 2023 L-11 PH-1 PL 71/8 .17AC SEASIDE 1.0000 LT   SRC=  
Appraised by 76 on 09/20/2022 307R STJ - SEASIDE TW-05 CI-29 FR-23 EX- AT- LAST ACTION 20220920
CONSTRUCTION DETAIL MARKET VALUE   DEPRECIATION CORRELATION OF VALUE
Foundation - 4
Con Ftg/Crawl 5.00
Sub Floor System - 2
Slab On Grade 5.00
Exterior Walls - 19
Hardy Plank 32.00
Roofing Structure - 03
Gable 7.00
Roofing Cover - 06
Arch Shingle 5.00
Interior Wall Construction - 5
Drywall/Sheetrock 28.00
Interior Wall Construction - 6
Custom Interior 0.00
Interior Floor Cover - 12
Hardwood 10.00
Interior Floor Cover - 14
Carpet 0.00
Heating Fuel - 04
Electric 1.00
Heating Type - 09
Heat Pump Only 4.00
Air Conditioning Type - 03
Central 4.00
Bedrooms/Bathrooms/Half-Bathrooms
4/3/0 16.000
Bedrooms
BAS - 3 FUS - 1 LL - 0 _
Bathrooms
BAS - 2 FUS - 1 LL - 0 _
Half-Bathrooms
BAS - 0 FUS - 0 LL - 0 _
Office
BAS - 0 FUS - 0 LL - 0 0
TOTAL POINT VALUE 117.000
BUILDING ADJUSTMENTS
Market/Design 09 .20 1.2000
Quality 4 ABOVE AVERAGE 1.1000
Size Size SIZE 0.9200
Construction Factor 05 1.00 1.0000
TOTAL ADJUSTMENT FACTOR 1.210
TOTAL QUALITY INDEX 142
USE MOD Eff. Area QUAL BASE RATE RCN EYB AYB
   Standard  0.09000
CREDENCE TO MARKET
01 01 2,479 142 170.40 422422 2012 2012 % GOOD 91.0
DEPR. BUILDING VALUE - CARD 384,400
TYPE: SINGLE FAMILY RESIDENTIAL SFR CONSTRUCTION
STYLE: 2 - 1.5 Stories
 

Click on image to enlarge
DEPR. OB/XF VALUE - CARD 3,230
MARKET LAND VALUE - CARD 115,000
TOTAL MARKET VALUE - CARD 502,630
TOTAL APPRAISED VALUE - CARD 502,630
TOTAL APPRAISED VALUE - PARCEL 502,630
TOTAL PRESENT USE VALUE - PARCEL 0
TOTAL VALUE DEFERRED - PARCEL 0
TOTAL TAXABLE VALUE - PARCEL $ 502,630
PRIOR
BUILDING VALUE 248,000
OBXF VALUE 2,950
LAND VALUE 85,000
PRESENT USE VALUE 0
DEFERRED VALUE 0
TOTAL VALUE 335,950
PERMIT
CODE DATE NOTE NUMBER AMOUNT
ROUT: WTRSHD:
SALES DATA
OFF. RECORD DATE DEED TYPE Q/U V/I INDICATE SALES PRICE
BOOK PAGE MO YR
04001 0991 12 2017 GW Q I 295000
03364 1051 1 2013 WD* Q V 82000
03360 1290 1 2013 WD* Q V 78000
02301 0854 12 2005 WD U V 0
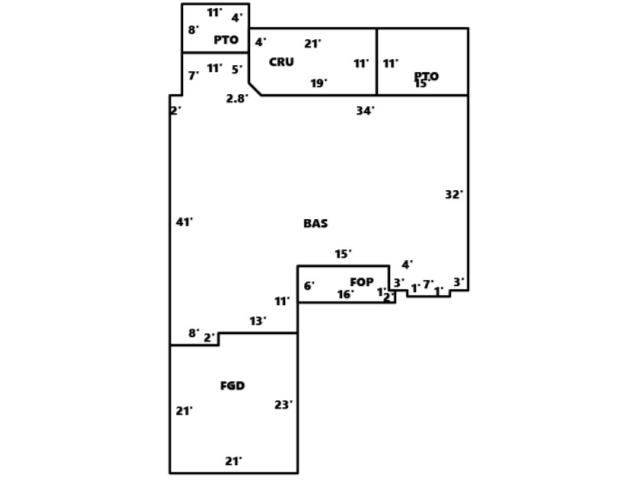
HEATED AREA 2,080
NOTES
CO 3/19/2013 FOG HAS WI CLOSET
SUBAREA
TYPE GS AREA % RPL CS
BAS 1,757 100 299393
CRU 229 075 29309
FGD 467 050 39874
FOG* 323 085 46860
FOP 92 030 4771
PTO 253 005 2215
FIREPLACE 1 - None 0
SUBAREA TOTALS 3,121   422,422
CODE DESCRIPTION COUNT LTH WTH UNITS UNIT PRICE ORIG % COND BLDG# AYB EYB ANN DEP RATE OVR % COND OB/XF DEPR. VALUE
22 CONCRETE PAVING   36 12 432 4.50 0 1 2013 2013 S3   70 1361
22 CONCRETE PAVING   33 18 594 4.50 0 1 2013 2013 S3   70 1871
TOTAL OB/XF VALUE 3,232
BUILDING DIMENSIONS BAS=N41E2N7E11S5SE@45-2.83E34S32W3S1W7N1W3N4W15S11W13S2W8Area:1757;FGD=N21E8N2E13S23W21Area:467;FOP=E15S4E1S2W16N6Area:9 92;FOG=Area:323;PTO=E11S4S4W11N8Area:88;CRU=S4S5SE@45-2.83E19N11W21Area:229;PTO=E15S11W15N11Area:165;TotalArea:3121  
LAND INFORMATION
HIGHEST AND BEST USE USE CODE LOCAL ZONING FRON TAGE DEPTH DEPTH / SIZE LND MOD COND FACT OTHER ADJUSTMENTS AND NOTES
  RF   AC   LC  TO  OT
ROAD
TYPE
LAND UNIT PRICE TOTAL LAND UNITS UNT TYP TOTAL ADJST ADJUSTED UNIT PRICE LAND VALUE OVERRIDE VALUE LAND NOTES
SFR 0100 SBR6     1.0000 0 1.1500
  loc
PS 100,000.00 1.000 LT 1.150 115,000.00 115000    
TOTAL MARKET LAND DATA     115,000  
TOTAL PRESENT USE DATA